一种浮法线过渡辊在线擦洗装置

日期:2025-10-1626

申请号202310471459.9

申请日 2023.04.26

本发明涉及浮法玻璃生产技术领域,具体为一种浮法线渣箱(过渡辊台)的过渡辊在线擦洗装置,解决高温环境下辊面污染导致玻璃质量缺陷的难题。

背景技术:

浮法玻璃生产中,渣箱(过渡辊台)连接锡槽与退火窑,辊面温度达600°C以上。辊子表面易粘附锡灰、碎玻璃等异物,导致玻璃下表面压裂、粘锡等缺陷。传统固定石墨块因高温腐蚀失去弹性,无法有效接触辊面,需频繁停机更换辊子(耗时约8小时),严重影响生产效率。

发明内容:

设置移动车架系统,车架底部带脚刹,可推动至辊子下方。设置两个支撑座,通过梅花螺栓调节高度并锁紧。设置杠杆式擦洗单元,其固定杆一端铰接连接杆,另一端设配重组件。安装座设卡槽固定可拆卸石墨块,石墨块带弧形槽贴合辊面。配重与张紧系统中,配重组件:配重台叠加配重块,限位杆插入滑槽防偏移。张紧装置:棘轮收卷钢丝绳,通过手轮控制松紧;棘爪搭配扭簧防反转,扣板解锁放绳。拉绳经拉簧连接连接杆,提供弹性压力。其可以在线操作:过渡辊无需停机拉出,在线转动状态下完成打磨。精准控压:配重块调节杠杆平衡,避免单侧过载。棘轮张紧装置逐步增大石墨块与辊面的接触压力,提升打磨效果。快速更换:石墨块插接式安装,便于磨损后更换。使用时推动车架至过渡辊下方,调节支撑架高度并锁紧;放置配重块平衡杠杆,收卷拉绳使石墨块轻触辊面;增加配重并进一步张紧拉绳,增大打磨压力;沿辊面移动车架进行“挪步式”擦洗。

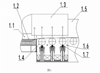
图1为现有的浮法玻璃生产成型工艺流程中过渡辊处的结构示意图;

图2为本发明某一实施例的结构示意图。


附图说明:

其中:1.1-锡槽;1.2-玻璃带;1.3-渣箱;1.4-过渡辊子;1.5-退火窑;1.6-S02导管;1.7-固定石墨块;1-车架;2-支撑座;21-紧固件;3-支撑架;4-固定杆;5-连接杆;51-安装座;511-卡槽;52-石墨块;6-配重组件;61-配重台;611-限位杆;62-配重块;621-滑槽;7张紧装置;8-拉绳。


相关工程