一种用于玻璃窑炉激光液面仪的水冷导光探头及液面仪

日期:2025-10-1134

申请号202023328306.X

申请日 2020.12.30

本实用新型涉及玻璃窑炉液位检测技术领域。提出一种用于玻璃窑炉激光液面仪的水冷导光探头,通过在软管的内腔连通有冷却组件,冷却组件用于对探头本体进行冷却降温处理,可有效的减少温度过高对探头本体的影响,进一步提高测量的精度。

背景技术:

在玻璃生产过程中,窑炉内玻璃液面高度的精准测量直接影响产品质量。传统激光液面仪的探头伸入窑炉内部时,受高温环境影响(玻璃液温度>1300℃),易导致测量信号失真。现有技术需在窑炉保温壁预留大开口以保证激光直线传输路径,造成热量散失和工艺波动。

发明内容:

1. 水冷导光探头结构

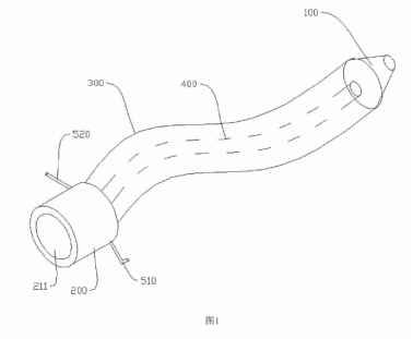
组成单元:探头本体(耐高温金属外壳)连接部(卡头结构,用于连接激光发射头)软管:连接探头本体与连接部,内部集成:光纤,传输激光信号(两端设入射/出射光窗口)第一腔体:冷却水循环通道冷却系统,对称设置冷却水进水管和冷却水出水管,连通外部冷却水箱冷却水路径:进水管 → 连接部第二腔体 → 软管第一腔体 → 探头本体第二腔体 → 出水管关键设计,进水管入口位置低于出水管出口,确保冷却水充分填充腔体腔体间设进水网栅和出水网栅,优化水流分布。探头本体外壳采用 耐高温金属,内设与软管腔体连通的第二腔体。

2. 连接优化设计

可弯曲软管:材质:耐热金属软管身。支持折弯调整探头角度和深度,突破激光直线传输限制。密封连接结构:软管两端通过法兰盘+螺栓固定连接探头本体与卡头。光纤窗口采用凹槽-凸块卡接结构(石英玻璃窗口),确保光路精准对齐。

3. 液面仪集成方案

包含激光发射头及上述水冷导光探头。安装优势:窑炉保温壁仅需开小孔(非大开口),减少热量散失。

图片

附图说明:

图1为本实用新型一种导光探头的实施例的立体结构示意图。

其中:100探头本体、200连接部、211卡孔、300软管、 400光纤、510冷却水进水管、520冷却水出水管。


相关工程