一种大尺寸耐火砖及其生产模具

日期:2025-05-31186

申请号202021990713.4

申请日 2020.09.11

本实用新型涉及玻璃熔窑耐火砖制造技术领域,特别涉及一种大尺寸耐火砖及其生产模具。背景技术:

目前应用于玻璃熔窑上的耐火砖一般为镁砖、铝砖、硅砖等,随着工业水平的日益发展,大型熔窑通道越做越大,需要将耐火砖的外形尺寸做大,但是现有的耐火砖的外形尺寸做大以后,耐火砖的散热效果不佳,导致其耐火性能下降,无法满足大型熔窑通道的需求。

发明内容:

本实用新型旨在至少在一定程度上解决相关技术中的上述技术问题之一,为此本实用新型提出一种大尺寸耐火砖,该耐火砖通过在砖本体上设置有第一通孔,第一通孔内设置有通水管,通水管内可以通入冷却水对砖本体进行冷却,使得大尺寸的耐火砖的耐火性能与常规尺寸的耐火砖的耐火性能基本一致,以满足大型熔窑通道的需求。

本实用新型与现有技术相比具有以下的技术效果:

(1) 通过在砖本体内沿砖本体的长度方向上设置有通水管,通水管的一端可以进冷水,通水管的另一端可以排出置换后的热水,达到降温砖本体的效果,从而使得大尺寸的耐火砖的耐火性能与常规尺寸的耐火砖的耐火性能基本一致,满足大型熔窑通道的需求。

(2)通过在第一水平板的上端面的前后两侧分设有第一竖直板,在第一水平板的上端面的左右两侧分设有第二竖直板,第一水平板、两个第一竖直板和两个第二竖直板配合围成一个具有开口的腔体,腔体的形状与砖本体相同,将通水管放置在安装位上,随后将第二水平板覆盖腔体的开口,并通过通口向腔体内灌入原料,当原料填满腔体并成型后,将第二水平板、两个第一竖直板和两个第二竖直板拆下,再将成型的砖本体按要求打磨即可得到所需的尺寸的耐火砖。

图片

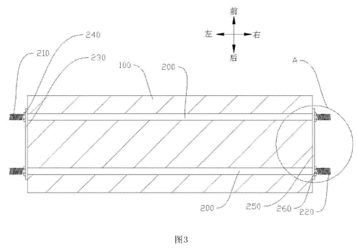
图1 本实用新型的一种大尺寸耐火砖安装于熔窑通道的主视结构示意图

图片

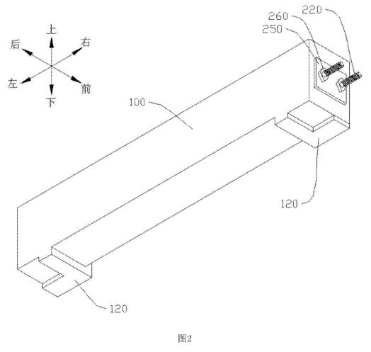
图2 本实用新型实施例一种大尺寸耐火砖的立体结构示意图

图片

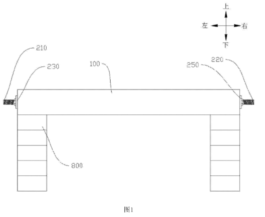
图3 本实用新型实施例一种大尺寸耐火砖的俯视结构示意图


相关工程